ko-history

제7장 스티커 라벨러 사업 전개

제약기업의 요청으로 안약 용기 및 주사기에 수축 스티커 라벨을 감아서 열 수축시킨 후, 요철이 있는 용기에 밀착시키는 수축 스티커 라벨러의 개발에 착수하게 된다.

수축 스티커 라벨러는 제약기업 S사의 안약 용기용으로 처음 개발되어 1993년에 납품됐다. 그 수축 스티커 라벨은 원형 동체의 안약 용기의 뚜껑까지 덮는 것으로 뚜껑부가 점점 뾰족해지는 테이퍼형이었다. 기존 방법인 부착 드럼과 R 마무리판으로 부착되어, 일반적인 컨베이어상에서 열풍에 의해 수축시켜 밀착시킨 것이었다. 그 후 다른 제약기업 C사의 요청으로 처음으로 주사기용 수축 스티커 라벨러로 개발되어 1999년에 출하됐다. 주사기는 수직으로 선 자세에서 부착 스타 휠을 회전 반송시키면서 수축 스티커를 부착하고 수직 컨베이어 반송으로 열풍을 불어 수축시키는 방식이다.

수축 스티커 라벨러 확립

또한 오목한 곳이 있는 부정형의 안약 용기용 수축 스티커 라벨러가 개발되어 2001년에 제약기업 S사에 출하했다. 부정형 용기 전체를 감쌌고, 뚜껑 부분의 라벨을 벗기기 위해 용기 위쪽에 잡기 쉽도록 ‘꼭지’가 붙은 라벨이었다. 이 수축 스티커 라벨러에는 몇 가지 어려운 과제가 있었다.
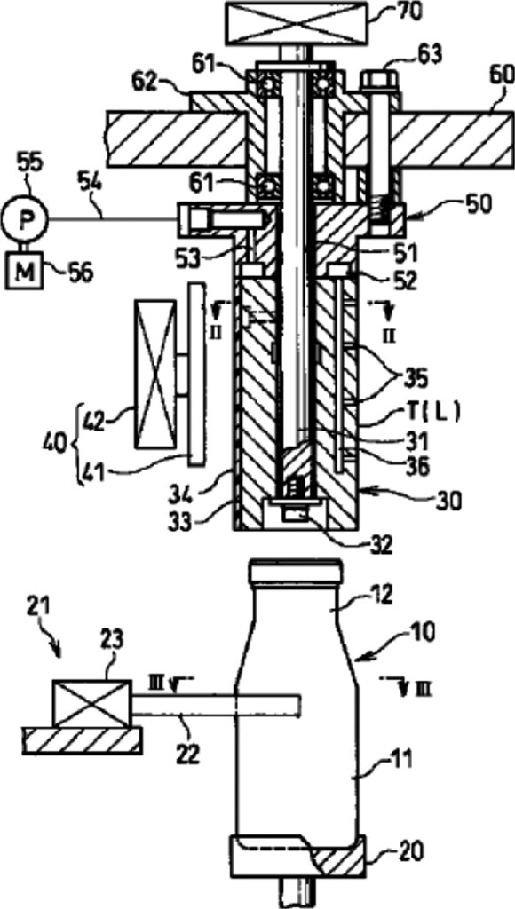
첫 번째는 안약 용기가 원통형의 둥근 몸체가 아닌 점, 두 번째는 라벨로 뚜껑 윗부분까지 감싸야 하는 점이다. 따라서 지금까지의 방법으로는 라벨을 부착할 수가 없었다. 이를 극복하려면 터릿 로터리에서 용기를 회전 반송하고 있는 사이에 부정형 뚜껑부에 공중의 보빈을 꽂아 원형 동체를 만들어야 했다. 즉 부착 로터리부에서 용기와 같은 직경의 비착 처리한 보빈을 용기의 변형 두부에 씌운 후 꽉 잡은 상태로 용기와 보빈을 일체화하여 수축 스티커 라벨을 감아 부착하는 것이다(아래 사진, 그림).

그 후의 공정인 열 수축 로터리부에서 보빈을 뺀 상태로 용기의 두부를 잡고 열풍을 불어 스티커 라벨을 수축시켜 용기에 밀착시킨다(이하 사진 1장째).
세 번째는 오목한 곳이 있는 부정형 용기의 방향과 라벨 방향을 맞출 필요가 있다는 점이다. 라벨을 부착할 때는 용기 방향이 맞춰져 있어야 하며, 라벨을 부착하기 전에 방향 규제를 실시해야 한다. 앞에서 말한 특허 ‘오목한 곳이 있는 경량 용기의 방향 규제 장치’ 기술에 따라 이 과제는 해결됐다(이하 사진 2장째).
이 새로운 수축 스티커 라벨러의 완성에 따라 고객 제조사의 신뢰를 얻을 수 있었고, 같은 제약 제조사에 같은 기종의 수축 스티커 라벨러 6대를 납품하게 됐다. 또한 이 기종은 다른 일본 제약 제조사에도 출하되거나 해외 제약 제조사에도 수출되어 호평을 받았다.

테이프형 라벨을 원통형 수축 라벨로 만든 기술적 배경

여기서 사용된 기술은 테이프형 라벨을 원통형 라벨로 성형하기 위해 개발된 것이다.
애당초 수축 라벨러는 사전에 원통형으로 성형된 수축 라벨을 용기에 장착한 후 가열하여 라벨을 수축시켜 그 모양에 맞게 밀착시키는 것이었다. 그 원통형 수축 라벨은 테이프형 롤 라벨에 비해 상당히 고가였다. 수축 라벨러에 테이프형 라벨을 원통형 라벨로 성형하는 공정을 추가함으로써 누적 비용이 방대해지는 라벨 비용을 대폭 절감할 수가 있다. 그 원통형 라벨을 성형하는 장치를 탑재한 라벨러의 가격이 다소 비싸지더라도 그 라벨러 구입의 초기 비용은 원통형 라벨과 테이프형 라벨과의 누적 차액으로 1년 정도면 상쇄된다.
아래에 원통형 라벨 형성의 특허 개요에 관해 서술해 두겠다.

가동 보빈식 원통형 라벨 형성 수축 라벨러(특허 1999.6)

가동 보빈에 용기의 두부에 삽입하여 보빈과 용기에 테이프형 라벨을 감아 접합하여 원통형 수축 라벨을 형성한다.
다음으로 원통형 수축 라벨을 잡고 가동 보빈을 빼낸 후 가열하여 수축 필름을 수축시켜 용기에 밀착시킨다. 이에 따라 라벨 비용을 큰 폭으로 줄이고 라벨 부착을 고속화할 수 있다(아래 그림 1장째).

원통형 수축 라벨 형성 삽입 장치(특허 출원 2000.2)

성형 보빈에 테이프형 수축 라벨을 감아 접합하여 원통형 수축 라벨을 형성하고, 그 원통형 수축 라벨을 당겨내려 용기에 삽입한다. 그 후 가열하여 필름을 수축시켜 용기에 밀착시킨다. 이에 따라 라벨 비용을 큰 폭으로 줄임과 동시에 용기의 재활용에도 기여할 수 있다(아래 그림 2장째).

스티커 라벨러 복합기 및 주변 기기

최근 스티커 라벨러는 제약기업에 대한 납품이 큰 비율을 차지하고 있다. 스티커 라벨러와 다른 장치와의 복합기나 스티커 라벨러 전후의 주변 기기와 함께 라인을 한꺼번에 납품하는 경우가 있다. 예를 들어 용기에 스티커 라벨뿐만 아니라 수축 라벨 및 국가 검정 증지를 부착하는 라벨러와의 복합기가 그 경우이다. 또는 용기에 스티커 라벨을 부착한 후에 용기를 정렬시켜 집적한 후 상자에 담는 집적 장치를 갖추는 경우도 있다.
또한 스티커 라벨러 전후에 제품 외관 검사 장치 및 부착 검사 장치를 갖춘 복합기인 경우도 있다. 이들의 대표적인 예를 아래에서 소개하겠다.

스티커 라벨러와 수축 라벨러와의 복합기

부정형 안약 용기에는 원통형 수축 라벨을 삽입하여 열풍을 불어 가수축시킨다. 원형 동체의 바이알병에는 스티커 라벨을 부착한다. 용기가 다르면 그에 따라 다른 사양의 라벨을 부착하는 겸용형 복합기이다(아래 사진).
이렇게 복합기로 제작함으로써 각각 따로 제작하여 설치하는 것에 비해 공간 및 비용을 절약하고, 라인 제어가 복잡해지는 것을 피할 수도 있다.

주사기 조립과 스티커 라벨러와의 복합기

주사기 조립기는 약액 충진 주사기의 배럴부에 밀대를 장착하고 고무 패킹을 연결한 후 손가락 받침을 장착하여 주사기를 완성시킨다. 각 공정 후에 각각 검사 카메라로 촬영하여 검사한 후 불량품은 라벨링 전에 배출된다. 그 후에 스티커 라벨러가 주사기 배럴부에 라벨을 부착하여 라벨 부착 검사를 진행한 후 불량품은 배출된다. 주사기 조립기 전공정으로써 밀대 공급기와 손가락 받침 공급기를 갖춘다.
이처럼 다수의 공정과 복잡한 제어로 구성된 복합기를 기계와 제어라는 양면에서 일괄하여 설계함으로써 최소의 공간과 계통적인 제어로 효율적으로 운용할 수 있게 된다. 약액 충진 및 마개 조임을 제외하고, KOYO의 복합기는 라벨링 전후의 제조 라인의 주요 공정을 담당하고 있다. 이 복합기 1호기는 2009년 1월에 제약기업에 납품됐다.

외관 검사 및 라벨 부착 검사와 스티커 라벨러와의 복합기

이는 약액이 충진된 주사기의 배럴을 다면적으로 검사하는 시스템을 갖춘 비교적 규모가 큰 검사 스티커 라벨러 복합기이다. 라벨링 전에 외관 검사 로터리부에 배럴을 회전 반송하면서 자전시켜 이에 맞춰 요동 운동하는 검사 카메라로 각각의 배럴 내부의 액체부 및 빈 공간, 피스톤부 등을 검사한다. 라벨 부착 로터리부에서 배럴부에 스티커 라벨을 부착한 직후에 라벨 부착 상태를 외관 검사 로터리부와 같은 시스템으로 검사한다. 또한 각 스타 휠에서 마개 상면 및 측면을 검사 카메라로 촬영해 검사한다. 우량 배럴은 다음 공정의 라인 컨베이어로 반송되고 각각의 불량 배럴은 불량 사항에 따라 분별되어 각 배출 테이블로 배출된다.

측면/상면 부착 스티커 라벨러 복합기와 집적 장치

각 장치가 컨베이어로 연결된 라인은 용기 공급부터 시작해서 용기의 측면과 상면에 라벨링 하고, 라벨 부착 용기를 집적하여 상자에 수납하고 반출하기까지의 공정으로 끝난다. 스티커 라벨을 부착하여 검사한 최종 제품의 용기는 집적 장치 내로 반송되고 일정 갯수로 정렬되어 상자에 수납이 완료되면 컨베이어로 반출된다(아래 사진, 그림).

당사는 사회(기업)가 요구하는 것을 미리 파악하여 지금까지 세상에 없었던 기술을 창조하여 새로운 라벨기를 세상에 내놓았다. 비용 절감 및 생력화, 에너지 절약을 도모하는 생산 라인에 들어가는 기계 설비로써 그 수요를 창조해왔다고 할 수 있다.
되돌아보면 당사의 원점인 호퍼 라벨러로 시작해서 롤 라벨러로 발전했고, 스티커 라벨러로 진출하여 라벨기라는 범주의 전체상을 다시 썼다. 한편 ‘독특한 모양의 용기에 참신한 디자인의 라벨을 부착할 수 있는가’ 라고 하는 고객의 요구에 대응하기 위해 다양한 새로운 기술을 고안해냈고 구체화해왔다고도 할 수 있다. 기계 제조사로서 설계를 관철하는 근본 사상과 핵심 기술을 바탕으로 다양한 고객 수요와 선도적인 기술과의 상호 작용에 의해 끊임없이 라벨러 기술을 진화시켜왔다.그 선구자인 야마시타 회장의 사상과 기술이 지금도 계승되고 있는 가운데, 당사의 기계 설계 기술자와 기계 조립 조정 기술자, 전기 제어 기술자 사이에서 끊임없이 신기술 도입과 개발이 이루어지면서 제품화됐던 것이다. 납품되기 전 기계 조정에서, 또는 현지 공장에서 생산 입회하의 라인 가동을 통해 기계 작동으로 분명해진 정보를 기계 설계 및 전기 설계에 피드백하여 기계 장치 및 제어 방법의 개량이 이루어지고 있다. 그것이 바로 새로운 기술이 만들어지는 원동력이라는 점은 굳이 말할 필요도 없을 것이다. 24시간 가동하는 조건에서 분명해진 기계 장치의 내구성, 또는 높은 품질 기준을 만족하는 기계 장치의 정밀성 및 기능성, 기계 장치의 진보는 그야말로 “현장”에서 시작되어 “현장”에서 끝나는 반복에 의한 것이다.

지금까지 말해왔던 것처럼 어려운 과제일수록 그동안의 기술을 일단 버리고 생각함으로써 더욱 단순하고 혁신적인 기술이 태어날 수 있었다. 또한 비용 절감을 철저히 함으로써 오히려 고성능 제품을 만드는 일로 이어지기도 했다. 다양한 분야에서 이전에 없었던 큰 시대 변혁의 시기를 맞아 지금까지 없었던 과제가 산적해 있기 때문에 우리는 더욱더 새로운 라벨기 개발에 도전하고자 한다. 그것이 KOYO의 “라벨기 계보” 그 자체이기 때문이다.

TOP